發布時間:2019-11-4 11:44:34 來源: 點擊次數: 次
耐腐蝕(shí)化工泵,按照安裝形式可分為臥(wò)式(shì)耐腐化工泵,立式耐腐化工泵,常(cháng)用的生產材質有不鏽鋼耐腐(fǔ)蝕化工泵,氟塑料耐腐蝕化工泵等,因此所有能夠(gòu)承受化工物料腐蝕的泵(bèng),都可以稱為耐腐蝕化工泵。
以下展示部分耐腐蝕化工(gōng)泵(bèng)的產品(pǐn)結構圖

耐腐蝕化工液下泵(bèng)結(jié)構圖

氟塑料耐腐蝕化工泵結構圖,臥式

IH型(xíng)不鏽鋼耐腐蝕化工泵結構圖

AFB型耐腐蝕化工泵結構圖

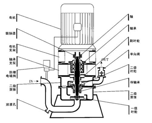
JMZ型耐腐蝕(shí)化工酒泵結構圖

不鏽鋼耐(nài)腐蝕管道泵結構(gòu)圖

FSB型耐腐蝕化工泵結構圖

耐腐耐磨渣漿泵結構(gòu)圖

FSB組裝(zhuāng)圖

無堵塞化工雜質泵(bèng)結構圖

無堵塞化工紙(zhǐ)漿泵結構圖

不(bú)鏽鋼化工磁(cí)力泵結構圖

雙級無(wú)密封自控自吸泵結構(gòu)圖

單螺杆泵結構圖